ГОСТ Р 55665-2013 Оборудование для спортивных игр. Ворота для мини-футбола и гандбола. Требования и методы испытаний с учетом безопасности (с Изменением N 1)
ГОСТ Р 55665-2013 Оборудование для спортивных игр. Ворота для мини-футбола и гандбола. Требования и методы испытаний с учетом безопасности (с Изменением N 1)
НАЦИОНАЛЬНЫЙ СТАНДАРТ РОССИЙСКОЙ ФЕДЕРАЦИИ
Оборудование для спортивных игр
ВОРОТА ДЛЯ МИНИ-ФУТБОЛА И ГАНДБОЛА
Требования и методы испытаний с учетом безопасности
Equipment for sports games. Gates for mini-soccer and handball. Requirements and test methods with regard to safety
Предисловие
1 РАЗРАБОТАН Саморегулируемой организацией Некоммерческим партнерством «Отраслевое объединение национальных производителей в сфере физической культуры и спорта «Промспорт» (СРО «Промспорт») и автономной некоммерческой организацией «Центр содействия развитию физической культуры и спорта» (АНО «ЦСРФКиС»)
(Измененная редакция, Изм. N 1).
2 ВНЕСЕН Техническим комитетом по стандартизации ТК 444 «Спортивные и туристские изделия, оборудование, инвентарь, физкультурные и спортивные услуги»
3 УТВЕРЖДЕН И ВВЕДЕН В ДЕЙСТВИЕ Приказом Федерального агентства по техническому регулированию и метрологии от 28 октября 2013 г. N 1270-ст
4 Настоящий стандарт разработан с учетом основных нормативных положений европейского регионального стандарта ЕН 749:2004* «Оборудование для спортивных игр. Гандбольные ворота. Требования и методы испытаний, включая безопасность» (EN 749:2004 «Playing field equipment — Handball goals — Functional and safety requirements, test methods», NEQ)
5 ВВЕДЕН ВПЕРВЫЕ
Информация об изменениях к настоящему стандарту публикуется в ежегодном (по состоянию на 1 января текущего года) информационном указателе «Национальные стандарты», а официальный текст изменений и поправок — в ежемесячном информационном указателе «Национальные стандарты».
ВНЕСЕНО Изменение N 1, утвержденное и введенное в действие Приказом Росстандарта от 02.09.2016 N 1029-ст c 01.01.2017
Изменение N 1 внесено изготовителем базы данных по тексту ИУС N 12, 2016 год
1 Область применения
Настоящий стандарт распространяется на оборудование для спортивных игр. Стандарт устанавливает функциональные требования и требования безопасности к воротам для мини-футбола и гандбола для проведения соревнований и тренировок.
2 Нормативные ссылки
В настоящем стандарте использована нормативная ссылка на следующий стандарт:
ГОСТ 2.601-2013 Единая система конструкторской документации. Эксплуатационные документы
ГОСТ 25552-82 Изделия крученые и плетеные. Методы испытаний
3 Требования
3.1.1 Классификация ворот
Классификация ворот приведена в таблице 1.
Таблица 1 — Классификация ворот
3.1.2 Конструкции ворот типов 1 и 2 представлены на рисунках 1 и 2 соответственно. Размеры ворот приведены на рисунке 2.
Рисунок 1 — Конструкция ворот типа 1

1 — перекладина; 2 — штанги; 3 — сетка; 4 — планка натяжения сетки; 5 — бетон; 6 — установочные гильзы; 7 — шнур натяжения сетки
Рисунок 1 — Конструкция ворот типа 1
Рисунок 2 — Конструкция ворот типа 2
1 — рама крепежа сетки; 2 — боковая планка наземной рамы; 3 — устройство защиты от опрокидывания; 4 — поперечная планка наземной рамы
Рисунок 2 — Конструкция ворот типа 2
3.1.3 Применяемые материалы
Рама ворот должна быть изготовлена из дерева, стали, легкого металла или пластика.
Наземная часть рамы, установочные гильзы, кронштейны и стойки натяжения должны быть изготовлены из легкого металла и/или стали, защищенной от коррозии (например, гальванизированной или прошедшей порошковую окраску).
Элементы крепления сетки к воротам должны быть изготовлены из стали, защищенной от коррозии, или пластика.
Веревка, из которой изготовлена сетка, может быть синтетической или натуральной.
Для шнура натяжения сетки следует использовать синтетическую веревку.
3.1.4.1 Рама ворот
Рама ворот должна обладать достаточной прочностью, чтобы противостоять нагрузкам, возникающим в процессе игры и перемещения ворот. Это требование выполняется, если при проведении испытаний в соответствии с приложением А угловые секции рамы не повреждаются и не деформируются.
Рама ворот должна быть окрашена (маркирована) в соответствии с требованиями соответствующих спортивных федераций.
3.1.4.2 Сетка
Размеры сетки должны соответствовать указанным в таблице 2.
Таблица 2 — Размеры сетки
Физические характеристики сетки должны соответствовать требованиям, указанным в таблицах 3 и 4.
Таблица 3 — Устойчивость сетки к разрыву
Сетка должна быть натянута с помощью шнура натяжения соответствующей длины, расположенным в верхней части сетки и закрепленным способом, не допускающим дальнейших перемещений. Устойчивость шнура натяжения к разрыву должна составлять не менее 7000 мм.
Сетка должна быть свободно закреплена на раме (не быть натянутой) таким образом, чтобы попавший в ворота мяч, не мог отскочить от конструктивных элементов ворот. Закрепляющие элементы должны быть расположены снаружи сетки.
Сетка должна быть закреплена на стене с помощью шнура натяжения или удерживаться рамой крепежа сетки. Способ крепления сетки должен исключать возможность проскальзывания мяча между сеткой и конструктивными элементами рамы.
Если внутри ворот используется дополнительная удерживающая сетка, она должна иметь такие же ширину и размеры ячеек, что и основная сетка, и быть закреплена на расстоянии (700±100) мм от переднего края рамы ворот.
3.1.4.3 Установочные гильзы
При закреплении установочных гильз должны быть предусмотрены дренажные отверстия. Пример крепления установочных гильз приведен в приложении В.
3.2.1 Общие требования
Углы и грани (ребра), могущие стать причиной травм, должны иметь радиус закругления не менее 3 мм.
3.2.2 Требования к каркасу ворот (штанги и перекладина)
Грани (ребра) каркаса ворот должны иметь радиус закругления (4±1) мм.
3.2.3 Прочность
При проведении испытаний на прочность в соответствии с приложением А верхняя перекладина ворот не должна иметь трещин, поломок или остаточной деформации более 10 мм через 30 мин после снятия нагрузки.
3.2.4 Устойчивость
При проведении испытаний в соответствии с приложением Б ворота не должны опрокидываться или скользить.
3.2.5 Рама крепежа сетки
Если используется рама крепежа сетки, элементы ее крепления не должны выступать за пределы (в стороны от) каркаса ворот.
3.2.6 Крепление сетки
Сетка должна быть свободно закреплена на штангах и перекладине. Элементы крепежа сетки к воротам должны быть разработаны таким образом, чтобы исключить травмы спортсменов. Это требование считается выполненным, если любые отверстия/зазоры, расположенные на поверхности штанг и перекладины ворот, имеют размер (ширину или диаметр) не более 8 мм или не менее 25 мм. Не следует использовать открытые захватывающие металлические крючки. Если используют карабины, они должны быть оснащены резьбовыми фиксаторами.
3.2.7 Испытание устойчивости шнура натяжения сетки
Испытание устойчивости шнура натяжения сетки — по ГОСТ 25552.
3.2.8 Предотвращение застреваний
Во избежание застреваний ни один из элементов конструкции ворот, расположенных выше 1200 мм от поверхности земли (например, рама поддержки сетки), не должен иметь сужений с углом менее чем 60° и отверстий (проемов) диаметром менее 230 мм.
4 Методы испытаний
4.1 Требования, изложенные в разделе 3, проверяют визуально, органолептически или инструментальными методами.
4.2 При проведении проверки в лабораторных условиях ворота должны быть выдержаны не менее 1 ч при температуре (20±5)°С.
4.3 Испытания на прочность — в соответствии с приложением А.
4.4 Испытания на устойчивость — в соответствии с приложением Б.
4.5 По результатам испытаний оформляют отчет или протокол.
5 Документация изготовителя (поставщика)
5.1 Изготовитель (поставщик) должен иметь паспорт на ворота согласно ГОСТ 2.601 на русском языке, а также при необходимости на государственных языках субъектов Российской Федерации и родных языках народов Российской Федерации.
5.2 Паспорт на ворота должен содержать следующую минимальную информацию:
— основные сведения об оборудовании;
— основные технические данные;
— комплектность;
— гарантийные обязательства;
— сведения о хранении;
— инструкцию по монтажу/установке ворот;
— инструкцию по контролю и техническому обслуживанию ворот;
— правила безопасной эксплуатации ворот;
— форму подтверждения ввода оборудования в эксплуатацию.
Рекомендуемая форма акта подтверждения ввода оборудования в эксплуатацию приведена в приложении Д.
5.3 Инструкция по монтажу/установке ворот должна содержать следующую минимальную информацию:
— порядок монтажа;
— необходимые обозначения, облегчающие сборку;
— перечень необходимых специальных приспособлений и инструментов для монтажа (шаблонов, калибров, лекал);
— меры предосторожности при монтаже и установке;
— значение крутящего момента (по необходимости);
— инструкцию по способу установки ворот (для ворот со стойками, закрепленными в установочных гильзах), обеспечивающему устойчивость ворот на месте эксплуатации в соответствии с требованиями 3.2.4;
— инструкцию по способу установки ворот (для свободно стоящих ворот с противовесом), обеспечивающему устойчивость ворот на месте эксплуатации в соответствии с требованиями 3.2.4.
5.4 В документации изготовителя (поставщика) следует указать, что ворота должны быть защищены от опрокидывания в том случае, когда они не используются.
Раздел 5 (Измененная редакция, Изм. N 1).
6 Информационная табличка
На воротах должна быть закреплена табличка с одной из следующих надписей:
«Ворота предназначены для использования исключительно в качестве ворот для мини-футбола и гандбола»;
«Перед использованием ворот необходимо проверить прочность затяжки всех соединений и регулярно повторять такую проверку в дальнейшем»;
«Ворота должны быть защищены от опрокидывания»;
«Не залезать на сетку или раму ворот».
Примечание — Вместо таблички с текстом возможно использование иных графических материалов.
(Введен дополнительно, Изм. N 1).
7 Маркировка оборудования
7.1 Маркировка оборудования должна содержать информацию для потребителей, однозначно понимаемую, полную и достоверную.
7.2 Маркировка не должна содержать информацию рекламного характера.
7.3 Информация об организации, принимающей претензии (предложения) по качеству оборудования на территории Российской Федерации, указывается в эксплуатационной документации.
7.4 Маркировка, содержащая информацию в соответствии с эксплуатационной документацией в виде текста, отдельных графических, цветовых знаков (условных обозначений) и (или) рисунка и их комбинаций, наносится непосредственно на оборудование и (или) этикетку (ярлык, табличку).
7.5 Маркировка должна быть нанесена на русском языке. В дополнение к маркировке на русском языке допускается наносить идентичную информацию на других языках.
7.6 Маркировка должна быть четко обозначенной, разборчивой и размещаться на фоне, контрастном по отношению к цвету поверхности, на котором она расположена.
7.7 Маркировка должна сохраняться в течение срока службы оборудования, установленного производителем. Способы нанесения и изготовления этикеток (ярлык, табличка) должны учитывать особенности оборудования и обеспечивать необходимое качество изображения.
7.8 Маркировка, нанесенная на оборудование, не должна влиять на его безопасность и качество, должна обеспечивать стойкость нанесенной информации при хранении, транспортировании, реализации, использовании и воздействии климатических факторов.
7.9 Сохранность маркировки, применяемой в условиях активного воздействия окружающей среды, может быть обеспечена одним из следующих способов или их сочетанием:
— применение стойкого к воздействию материала-носителя (влагостойкого, термостойкого);
— применение соответствующего метода нанесения (выдавливание, травление);
— применение стойкой к воздействию оболочки (прозрачная пленка).
7.10 Маркировка всего оборудования должна содержать следующую минимальную информацию:
— обозначение настоящего стандарта;
— наименование или товарный знак изготовителя (при наличии);
— информационную табличку в соответствии с разделом 6;
— уникальный идентификационный номер (для единичного изделия).
(Введен дополнительно, Изм. N 1).
8 Обеспечение требований безопасности
8.1 Ввод оборудования в эксплуатацию
8.1.1 Готовность ворот к применению (использованию) осуществляется в форме документально оформленного ввода в эксплуатацию.
8.1.2 В эксплуатацию вводится оборудование, сертифицированное на соответствие требованиям настоящего стандарта в части, подлежащей обязательной сертификации.
8.1.3 Ввод в эксплуатацию осуществляется по завершении монтажа/установки оборудования на месте эксплуатации. Монтаж/установка должны быть осуществлены по технологии, учитывающей требования технической документации, местные условия проведения монтажа и обеспечивающей выполнение требований безопасности. По окончании монтажных/установочных работ выполняющая их организация вносит запись о качестве монтажа/установки оборудования в паспорт оборудования. Указанная запись должна быть подписана уполномоченными лицами организации, эксплуатирующей оборудование, организации, выполнившей монтаж/установку (при монтаже силами сторонней организации), скреплена печатями. Указанная запись является подтверждением ввода оборудования в эксплуатацию.
8.1.4 Не допускается использование ворот, не прошедших сертификацию и/или не введенных в эксплуатацию.
8.2 Контроль и техническое обслуживание оборудования
8.2.1 Ворота осматривают и обслуживают в соответствии с инструкцией изготовителя с периодичностью, установленной изготовителем.
8.2.2 Контроль за техническим состоянием ворот, техническое обслуживание и ремонт осуществляет эксплуатант (владелец).
8.2.3 При обнаружении в процессе контроля и технического обслуживания ворот дефектов, влияющих на безопасность оборудования, дефекты немедленно устраняют. Если это невозможно, эксплуатант (владелец) принимает меры, исключающие возможность использования ворот, либо удаляет ворота с места эксплуатации.
8.3 Требования безопасности при эксплуатации
Эксплуатант (владелец) разрабатывает и обеспечивает выполнение комплекса мероприятий по безопасной эксплуатации ворот на основе учета:
— конструкции ворот;
— эксплуатационных и иных документов, предоставленных владельцем;
— установки, обслуживания и использования ворот;
— климатических условий и условий эксплуатации ворот.
8.4 Вся эксплуатационная документация подлежит постоянному хранению. Следует обеспечить постоянный доступ персонала к документации во время осмотров, технического обслуживания и ремонта ворот.
(Введен дополнительно, Изм. N 1).
Приложение А (обязательное). Оценка прочности ворот при вертикальном нагружении
А.1 Сущность метода
При испытаниях к середине перекладины ворот прикладывают сосредоточенную вертикальную нагрузку (1800±50) Н и выдерживают в течение (60±10) с.
При приложении вертикальной испытательной нагрузки фиксируют наличие повреждений, в т.ч. трещин, поломок, ослабление соединений и значение прогиба перекладины в вертикальном направлении.
После снятия нагрузки проверяют наличие остаточной деформации ворот через (1800±30) с, которая не должна превышать 10 мм.
После испытаний на перекладине не должно быть повреждений, в т.ч. трещин, поломок, ослабления соединений и связей.
А.2 Устройство нагружения
Устройство нагружения должно обеспечивать сосредоточенную вертикальную нагрузку (1800±50) Н, прикладываемую к середине перекладины ворот.
А.3 Процедура
А.3.1 Прикладывают вертикальную сосредоточенную нагрузку F = (1800±50) Н к середине перекладины ворот и выдерживают в течение (60±10) с.
А.3.2 После снятия нагрузки контролируют и фиксируют наличие повреждений, в т.ч. трещин, поломок, ослабление соединений и значение прогиба перекладины в вертикальном направлении.
А.3.3 Через (1800±30) с после снятия нагрузки проверяют наличие остаточной деформации ворот, которая не должна превышать 10 мм.
Приложение Б (обязательное). Оценка устойчивости ворот при горизонтальном нагружении
Б.1 Сущность метода
При испытаниях к середине перекладины прикладывают сосредоточенную горизонтальную нагрузку (1100±50) Н и выдерживают в течение (60+10) с.
При приложении горизонтальной испытательной нагрузки ворота не должны опрокидываться или скользить.
После испытаний на конструкции ворот не должно быть повреждений, в т.ч. трещин, поломок, чрезмерных остаточных деформаций, ослабления соединений и связей.
Б.2 Аппаратура
Б.2.1 Устройство нагружения
Устройство нагружения должно обеспечивать сосредоточенную горизонтальную нагрузку (1100±50) Н, прикладываемую к середине перекладины ворот.
Б.3 Процедура
Б.3.1 Прикладывают горизонтальную сосредоточенную нагрузку F = (1100±50) Н к середине перекладины и выдерживают в течение (60±10) с в соответствии с рисунком Б.1
Рисунок Б.1 — Схема нагружения ворот

Рисунок Б.1 — Схема нагружения ворот
Б.3.2 Регистрируют наличие опрокидывания или скольжения. Б.4 После снятия нагрузки осматривают ворота.
На конструкции ворот не должно быть повреждений, в т.ч. трещин, поломок, чрезмерных остаточных деформаций, ослабления соединений и связей.
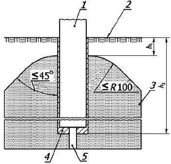
Приложение В (справочное). Пример фундамента и крепления установочных гильз
В.1 Пример крепления установочной гильзы в бетонный блок приведен на рисунке В.1. Размеры
и
приведены в таблице В.1.
Рисунок В.1 — Пример крепления установочной гильзы в бетонный блок

1 — штанга/стойка натяжения сетки; 2 — покрытие футбольного поля; 3 — бетон; 4 — установочная гильза; 5 — дренажное отверстие
Рисунок В.1 — Пример крепления установочной гильзы в бетонный блок

