ГОСТ Р 52483-2005
ГОСТ Р 52483-2005
Группа К65
НАЦИОНАЛЬНЫЙ СТАНДАРТ РОССИЙСКОЙ ФЕДЕРАЦИИ
ПРОКЛАДКИ (ПАКЕТЫ) ЖЕНСКИЕ ГИГИЕНИЧЕСКИЕ
Hygienic pads for women.
General specifications
Цели и принципы стандартизации в Российской Федерации установлены Федеральным законом от 27 декабря 2002 г. N 184-ФЗ «О техническом регулировании», а правила применения национальных стандартов Российской Федерации — ГОСТ Р 1.0-2004 «Стандартизация в Российской Федерации. Основные положения»
1 РАЗРАБОТАН ОАО «Центральный научно-исследовательский институт бумаги» (ОАО «ЦНИИБ»)
2 ВНЕСЕН Техническим комитетом по стандартизации ТК 157 «Древесная масса. Бумага, картон и изделия из них»
3 УТВЕРЖДЕН И ВВЕДЕН В ДЕЙСТВИЕ Приказом Федерального агентства по техническому регулированию и метрологии от 29 декабря 2005 г. N 508-ст
4 ВВЕДЕН ВПЕРВЫЕ
Информация об изменениях к настоящему стандарту публикуется в ежегодно издаваемом информационном указателе «Национальные стандарты», а текст изменений и поправок — в ежемесячно издаваемых информационных указателях «Национальные стандарты». В случае пересмотра (замены) или отмены настоящего стандарта соответствующее уведомление будет опубликовано в ежемесячно издаваемом информационном указателе «Национальные стандарты».
ВНЕСЕНА поправка, опубликованная в ИУС N 6, 2010 год
Поправка внесена изготовителем базы данных
1 Область применения
Настоящий стандарт распространяется на женские гигиенические прокладки (пакеты) (далее — прокладки) и устанавливает требования к их качеству.
Требования, обеспечивающие безопасность прокладок для здоровья женщин, изложены в 5.11; 5.12, таблица 1 (показатели 1-5); 5.13.
2 Нормативные ссылки
В настоящем стандарте использованы нормативные ссылки на следующие стандарты:
ГОСТ Р ИСО 10993-1-99 Изделия медицинские. Оценка биологического действия медицинских изделий. Часть 1. Оценка и исследования
ГОСТ 15.009-91 Система разработки и постановки продукции на производство. Непродовольственные товары народного потребления
ГОСТ 427-75 Линейки измерительные металлические. Технические условия
ГОСТ 1770-74 Посуда мерная лабораторная стеклянная. Цилиндры, мензурки, колбы, пробирки. Технические условия
ГОСТ 4233-77 Натрий хлористый. Технические условия
ГОСТ 6658-75 Изделия из бумаги и картона. Упаковка, маркировка, транспортирование и хранение
ГОСТ 6709-72 Вода дистиллированная. Технические условия
ГОСТ 9412-93 Марля медицинская. Общие технические условия
ГОСТ 10354-82 Пленка полиэтиленовая. Технические условия
ГОСТ 10700-97 Макулатура бумажная и картонная. Технические условия
ГОСТ 12026-76 Бумага фильтровальная лабораторная. Технические условия
ГОСТ 12301-81 Коробки из картона, бумаги и комбинированных материалов. Общие технические условия
ГОСТ 12303-80 Пачки из картона, бумаги, комбинированных материалов. Общие технические условия
ГОСТ 12523-77 Целлюлоза, бумага, картон. Метод определения величины рН водной вытяжки
ГОСТ 14192-96 Маркировка грузов
ГОСТ 15150-69 Машины, приборы и другие технические изделия. Исполнения для различных климатических районов. Категории, условия эксплуатации, хранения и транспортирования в части воздействия климатических факторов внешней среды
ГОСТ 25336-82 Посуда и оборудование лабораторные стеклянные. Типы, основные параметры и размеры
ГОСТ 28498-90 Термометры жидкостные стеклянные. Общие технические требования. Методы испытаний
ГОСТ 29251-91 (ИСО 385-1-84) Посуда лабораторная стеклянная. Бюретки. Часть 1. Общие требования
3 Термины и определения
В настоящем стандарте применены следующие термины с соответствующими определениями:
3.1 прокладки (пакеты) женские гигиенические: Многослойные впитывающие изделия одноразового пользования, предназначенные для впитывания и удержания наружных выделений у женщин во время менструального и межменструального периода и используемые в качестве средств личной гигиены.
3.2 прокладки (пакеты) женские гигиенические, используемые в медицинской практике: Женские гигиенические прокладки (пакеты), которые могут применяться в период гинекологических заболеваний женщин.
Примечание — Допускается использовать термин «прокладки медицинского назначения».
3.3 верхний покровный слой: Слой, который непосредственно соприкасается с кожей и пропускает выделения внутрь прокладки.
3.4 распределительный слой: Слой, который расположен за верхним покровным слоем и способствует равномерному распределению жидкости внутри прокладки.
3.5 абсорбирующий слой: Внутренний основной впитывающий слой прокладки, который поглощает и удерживает впитываемую жидкость.
3.6 защитный слой: Слой, который располагается непосредственно за абсорбирующим слоем и предотвращает проникновение выделений на белье.
3.7 нижний покровный слой: Слой, который располагается за защитным слоем и наиболее удален от тела.
3.8 фиксирующий слой: Клеевой слой, который наносится на нижний покровный слой для фиксации прокладки на белье.
3.9 антиадгезионный слой: Слой, который закрывает фиксирующий слой.
3.10 крылышки: Элементы технического исполнения прокладки, которые располагаются на ее боковых сторонах, заворачиваются за край белья и фиксируются на нем для более прочного закрепления прокладки на белье.
3.11 специальный ингредиент: Вещество или материал, которые предназначены для придания прокладкам помимо основных функциональных свойств ряда дополнительных свойств (антимикробных, поглощающих запах и т.п.).
3.12 суперабсорбент: Химическое вещество в виде гранул, предназначенное для повышения впитывающей способности прокладки.
3.13 индивидуальная упаковка: Упаковка для одной отдельной прокладки, как правило, в виде пакета.
4 Классификация
4.1 В зависимости от показателей качества прокладки изготовляют следующих видов и классов:
— ежедневные 1-го и 2-го классов;
— для критических дней 1-го и 2-го классов со средней и высокой впитывающей способностью;
— ночные и для использования при обильных выделениях 1-го класса со средней и высокой впитывающей способностью и 2-го класса со средней впитывающей способностью.
5 Технические требования
5.1 Прокладки изготовляют в соответствии с требованиями настоящего стандарта по технической документации (технологический регламент, техническое описание и т.п.) на конкретную прокладку и/или группу прокладок. При необходимости на прокладки утверждают образец-эталон по ГОСТ 15.009.
5.2 Требования к конструкции прокладок
5.2.1 Основными составными частями конструкции прокладок являются (начиная со слоя, контактирующего с кожей): верхний покровный слой, распределительный слой, абсорбирующий слой, защитный слой, наружный покровный слой, фиксирующий слой и антиадгезионный слой, которые в комплексе обеспечивают впитывание выделяющейся жидкости и ее удержание внутри прокладки, а также фиксацию прокладки на белье.
Допускается изготовлять прокладки без распределительного слоя.
Допускается изготовлять прокладки без нижнего покровного слоя. В этом случае функции нижнего покровного слоя выполняет защитный слой.
В прокладках в индивидуальной упаковке антиадгезионным слоем может являться сама индивидуальная упаковка.
Прокладки могут иметь дополнительные слои, помимо указанных в настоящем пункте, выполняющие определенные функции.
5.3 Техническое исполнение прокладок
5.3.1 Прокладки могут быть прямоугольными, эллипсоидными или другой формы.
5.3.2 Прокладки изготовляют «с крылышками» или без них, гладкими или тиснеными, белыми или цветными, ароматизированными или неароматизированными, с суперабсорбентом или без него, в индивидуальной упаковке или без нее.
Допускаются другие виды технического исполнения прокладок.
5.3.3 Прокладки изготовляют стерильными и нестерильными. Стерилизация должна осуществляться радиационным способом. Доза стерилизации — (15+3) кГр.
5.4 Декоративное исполнение прокладок
5.4.1 Прокладки изготовляют без отделки или с отделкой с помощью рисунка, нанесенного различными способами (печатью, тиснением и др.), или с отделкой другими способами.
5.5 Конструкцию прокладок, линейные размеры, техническое и декоративное исполнение прокладок указывают в технической документации на конкретные прокладки или группу прокладок.
5.6 Для изготовления прокладок применяют следующие материалы:
— для верхнего и нижнего покровных слоев: микропористую полимерную пленку, нетканый материал или другие гидрофобные материалы с показателями качества, обеспечивающими изготовление прокладок в соответствии с требованиями настоящего стандарта;
— для распределительного слоя: нетканый материал или бумагу, предназначенную для изделий бытового и санитарно-гигиенического назначения массой бумаги площадью 1 м
не более 25,0 г из целлюлозы и древесной массы. Не допускается использование бумаги для изделий бытового и санитарно-гигиенического назначения из бумажной и картонной макулатуры по ГОСТ 10700;
— для абсорбирующего слоя: распушенную целлюлозу или распушенные волокна других полуфабрикатов растительного происхождения, или листовые материалы из природных и химических волокон. Для повышения впитывающей способности в состав абсорбирующего слоя могут входить суперабсорбенты;
— для защитного слоя: полимерную пленку толщиной не более 30 мкм;
— для фиксирующего слоя: клей горячего расплава;
— для антиадгезионного слоя: бумагу с антиадгезионным покрытием, например силиконизированную бумагу массой бумаги площадью 1 м
не более 40,0 г;
— для индивидуальной упаковки: полимерную пленку, в том числе окрашенную, или комбинированный материал на бумажной основе;
— специальные ингредиенты: минеральные сорбенты, ароматизированные добавки и другие вещества.
5.7 Фиксирующий слой должен наноситься на нижний покровный слой, а при его отсутствии на защитный слой по всей длине прокладки в две-три полосы шириной не менее 2 мм или одной полосой шириной не менее 10 мм. Фиксирующий слой должен быть равномерным, без пропусков и обеспечивать прочное прикрепление прокладки к белью.
5.8 Антиадгезионный слой должен полностью закрывать фиксирующий слой.
5.9 Слои прокладок скрепляют с помощью термообработки или клеем горячего расплава, или иным способом, обеспечивающим прочность склейки слоев (швов) прокладки. Швы должны быть непрерывными.
5.10 Сырье и материалы для изготовления прокладок указывают в технической документации на конкретные прокладки или группу прокладок.
5.11 Сырье и материалы для изготовления прокладок должны быть разрешены к применению органами Федеральной службы по надзору в сфере защиты прав потребителей и благополучия человека.
5.12 Показатели качества прокладок должны соответствовать требованиям, указанным в таблице 1.
Таблица 1
5.13 Прокладки, предназначенные для использования в медицинской практике, должны быть разрешены к применению органами Федеральной службы по надзору в сфере здравоохранения и социального развития.
5.14 Требования к внешнему виду
5.14.1 В прокладках не допускаются: складки, механические повреждения, пятна различного происхождения, посторонние включения, видимые невооруженным глазом.
Допускаются включения (следы) специальных ингредиентов, не ухудшающие впитывающую способность.
5.14.2 Печатное изображение на прокладках должно быть четким, без искажений и пробелов. Не допускаются следы выщипывания волокон с поверхности прокладки и отмарывание краски.
5.14.3 Красочный фон цветных прокладок должен быть равномерным без пропусков. Не допускается отмарывание красителя.
5.14.4 Рельеф тиснения должен быть ровным, четким, без пропусков, видимым невооруженным глазом.
5.15.1 Маркировка должна наноситься непосредственно на упаковку или на этикетку (ярлык), прикрепленную к упаковке. Маркировку наносят любым способом (печатью, тиснением, штампом), обеспечивающим ее четкость, ясность и читаемость. При использовании печатного способа нанесения маркировки отмарывание краски не допускается.
5.15.2 Маркировка прокладок должна содержать следующие сведения:
— наименование, вид, класс, впитывающую способность прокладки, товарную марку (при наличии);
— страну-изготовителя;
— наименование предприятия-изготовителя, юридический адрес, товарный знак (при наличии);
— отличительные характеристики прокладок в соответствии с их техническим исполнением;
— информацию о наличии специальных ингредиентов;
— номер артикула (при наличии);
— количество прокладок в упаковке;
— дату (месяц, год) изготовления или дату (число, месяц, год) стерилизации для стерильных прокладок;
— гарантийный срок годности;
— обозначение настоящего стандарта;
— указание по утилизации: «Не бросать в канализацию»;
— графические символы для обозначения впитывающей способности прокладок (например в соответствии с приложением А);
— штриховой код прокладки (при наличии);
— информацию о сертификации.
Для стерильных прокладок маркировку дополняют надписями:
— «Изделия стерильные одноразового применения. Метод стерилизации — радиационный»;
— «Не допускается использовать в случае нарушения целостности индивидуальной упаковки».
Допускается дополнять маркировку другими сведениями, например сведениями о поставщиках (потребительских союзах) прокладок в Российской Федерации, наносить графические символы и рисунки, поясняющие потребительские свойства, использование изделий и т.п.
5.15.3 Маркировка грузовых мест (транспортной тары) — по ГОСТ 14192 с нанесением манипуляционного знака «Беречь от влаги». Маркировка, характеризующая продукцию, — по ГОСТ 6658 с указанием номера партии. Артикул при его отсутствии не указывают.
5.16.1 Прокладки в индивидуальной упаковке или без нее по несколько штук упаковывают в пакеты из полимерной пленки, пачки по ГОСТ 12303 или коробки по ГОСТ 12301, или другую тару, обеспечивающую сохранность прокладок при транспортировании и хранении.
Каждая стерильная прокладка должна быть герметично упакована в один слой полиэтиленовой пленки по ГОСТ 10354 марки Н, толщиной не менее 80 мкм. Допускается прокладки упаковывать в другую полимерную пленку или комбинированный материал на бумажной основе, обеспечивающие сохранность стерильности прокладки.
5.16.2 В один пакет, пачку или коробку упаковывают прокладки одного наименования, вида, класса, конструкции, линейных размеров, толщины, технического и декоративного исполнений, изготовленные из одних материалов, с одинаковыми показателями качества.
5.16.2.1 Допускается по согласованию с потребителем упаковывать в один пакет, пачку или коробку прокладки в индивидуальной упаковке разных линейных размеров, видов, технического и декоративного исполнений при наличии на индивидуальной упаковке соответствующей маркировки.
5.16.3 Не допускается механическое повреждение упаковки, открывающее доступ к поверхности прокладки.
5.16.4 Прокладки, подготовленные по 5.16.1, упаковывают в кипу, ящик по ГОСТ 6658.
5.16.5 Масса брутто кипы, ящика при ручной погрузке и разгрузке на производстве, использующем женский труд, не должна превышать 7 кг.
5.16.6 В один ящик, кипу упаковывают прокладки одного наименования, вида, класса, линейных размеров, толщины, технического и декоративного исполнений, конструкции.
5.16.6.1 Допускается в один ящик, кипу упаковывать прокладки, подготовленные по 5.16.2.1.
6 Правила приемки
6.1 Прокладки предъявляют к приемке партиями.
За партию принимают определенное количество прокладок одного класса, изготовленных из одних материалов, оформленное одним документом о качестве.
6.2 Партия должна сопровождаться документом о качестве, который должен содержать следующие данные:
— страну-изготовителя, наименование предприятия-изготовителя, товарный знак изготовителя (при наличии);
— наименование прокладки, вид, класс, толщину, линейные размеры, декоративное и техническое исполнения, материал абсорбирующего слоя;
— артикул (при наличии);
— номер партии;
— количество прокладок в партии;
— дату изготовления (месяц, год) или дату стерилизации (число, месяц, год);
— обозначение настоящего стандарта;
— результаты проведенных испытаний или подтверждение соответствия прокладок требованиям настоящего стандарта.
6.3 Прокладки подвергают приемосдаточным испытаниям.
6.4 Для проведения испытаний прокладок случайным образом от партии отбирают 1% единиц продукции (кипа, ящик), но не менее одной единицы продукции, от которых отбирают прокладки в количестве, необходимом для проведения испытаний, но не менее тридцати прокладок. При наличии в партии прокладок одного класса различных технического и декоративного исполнений, а также с качественными характеристиками в выборку должны отбираться образцы от всех имеющихся в единице продукции прокладок.
6.5 Приемосдаточные испытания каждой партии на соответствие прокладок требованиям настоящего стандарта проводят по 5.2; 5.5; 5.7; 5.8; 5.9; 5.12 (таблица 1, показатели 1-4); 5.14; 5.16 (в части герметичности упаковки стерильных прокладок и отсутствия повреждения упаковки).
6.6 Проверку прокладок на соответствие гигиеническим показателям по 5.12 (таблица 1) проводят при постановке продукции на производство, сертификационных испытаниях, в случае разногласий потребителя с изготовителем, при изменении сырья и материалов для их изготовления, а также по требованию органов Роспотребнадзора Российской Федерации. Проверку проводят на партии, прошедшей приемосдаточные испытания.
6.7 При получении неудовлетворительных результатов приемосдаточных испытаний хотя бы по одному показателю по нему проводят повторные испытания на удвоенной выборке, взятой от той же партии.
Результаты повторных испытаний являются окончательными и распространяются на всю партию.
7 Методы контроля
7.1 Проверку технического и декоративного исполнений прокладок, их конструкции и внешнего вида проводят визуально путем просмотра прокладок, отобранных по 6.4.
7.1.1 Метод определения отмарывания красителя
Метод основан на визуальном определении следов красителя на смоченной в 0,9%-ном растворе хлористого натрия фильтровальной бумаге после ее соприкосновения с образцом прокладки и приложении нагрузки в течение определенного времени.
7.1.1.1 Применяемые приборы и материалы
— термостат, обеспечивающий температуру для термостатирования (37±2) °С, высотой камеры для термостатирования не менее 18 см, диаметром не менее 19 см;
— колба по ГОСТ 1770 исполнения 1, вместимостью 1000 см
;
— сосуд диаметром (200±50) мм, вместимостью не менее 200 см
;
— груз массой (1800±36) г, размер сечения груза — 30х30 мм с предельными отклонениями не более ±3 мм;
— пинцет;
— плита из органического стекла толщиной (5±1) мм, массой (58±2) г;
— ножницы;
— термометр по ГОСТ 28498 с ценой деления 1 °С;
— линейка измерительная по ГОСТ 427 с ценой деления 1 мм;
— секундомер;
— вода дистиллированная по ГОСТ 6709;
— бумага фильтровальная по ГОСТ 12026;
— натрий хлористый по ГОСТ 4233.
7.1.1.2 Приготовление 0,9%-ного раствора хлористого натрия (далее — раствор)
Для приготовления 1 дм
раствора берут навеску хлористого натрия в количестве (9,0±0,1) г, переносят в колбу и добавляют в нее дистиллированную воду до отметки 1 дм
.
7.1.1.3 Подготовка образцов для испытаний
Из пробы, отобранной по 6.4 случайным образом, отбирают три прокладки. Из каждой прокладки вырезают по одному образцу размером 30х30 мм с отклонениями по размерам не более ±2 мм. Вырезают четыре листа фильтровальной бумаги размером 60х60 мм с отклонениями по размерам не более ±5 мм.
7.1.1.4 Проведение испытаний
В сосуд наливают (100±5) см
раствора. Температура раствора должна быть (37±2) °С. В раствор с помощью пинцета погружают четыре листа фильтровальной бумаги до полного смачивания, затем вынимают. Испытуемый образец прокладки окрашенной стороной кладут на два листа смоченной фильтровальной бумаги, сверху накрывают двумя оставшимися листами смоченной фильтровальной бумаги и переносят в термостат.
Сверху на фильтровальную бумагу кладут плиту из органического стекла, а на нее груз массой (1800±36) г и оставляют в термостате при температуре (37±2) °С на (2,0±0,1) ч. Через 2 ч груз, плиту из органического стекла, два листа фильтровальной бумаги снимают с испытуемого образца и определяют наличие следов краски на фильтровальной бумаге, с которой соприкасался окрашенной стороной испытуемый образец прокладки.
Прокладки считаются выдержавшими испытание, если при испытании каждого из трех образцов не будет обнаружено следов красителя на фильтровальной бумаге.
7.2 Ширину фиксирующего слоя, линейные размеры прокладок, отобранных по 6.4, определяют с помощью измерительной линейки по ГОСТ 427 с ценой деления 1 мм.
7.3 Контроль стерильности прокладок проводят в соответствии с методическими указаниями [1] или [2].
7.4 Метод определения полного влагопоглощения прокладок
Метод основан на определении массы 0,9%-ного раствора хлористого натрия, впитываемого прокладкой в течение определенного времени под действием определенной нагрузки.
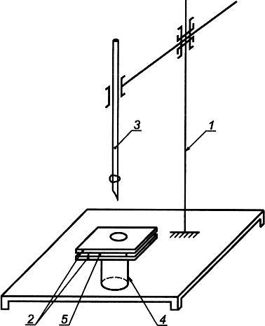
7.4.1 Применяемая аппаратура и посуда:
— устройство для определения полного влагопоглощения (рисунок 1), состоящее из:
металлической рамы с сетчатым дном на ножках (далее — рама), количество ячеек 10-16 шт. на 1 см
. Размер сетчатого дна рамы — 100х100 мм с предельными отклонениями не более ±5 мм;
сосуда для погружения рамы. Высота стенок сосуда — не менее 100 мм, вместимость сосуда — не менее 2000 см
, размеры дна сосуда — не менее 150х150 мм;
плиты из органического стекла толщиной (5±1) мм, массой (58±2) г, размер плиты должен соответствовать размеру сетчатого дна рамы;
груза массой (5000±100) г, размер сечения груза — 50х50 мм с предельными отклонениями не более ±5 мм;
груза массой (3200±64) г, размер сечения груза — 40х40 мм с предельными отклонениями не более ±4 мм;
груза массой (1800±36) г, размер сечения груза — 30х30 мм с предельными отклонениями не более ±3 мм;
— термометр по ГОСТ 28498 с ценой деления 1 °С;
— весы лабораторные с погрешностью не более ±0,01 г и пределом взвешивания до 500 г;
— марля медицинская по ГОСТ 9412;
— секундомер;
— вода дистиллированная по ГОСТ 6709;
— ножницы;
— пинцет;
— колба по ГОСТ 1770 исполнения 1, вместимостью 1000 см
;
— линейка измерительная по ГОСТ 427 с ценой деления 1 мм;
— натрий хлористый по ГОСТ 4233.
Рисунок 1 — Устройство для определения полного влагопоглощения

1 — металлическая рама с сетчатым дном на ножках; 2 — сосуд; 3 — плита из органического стекла;
4 — груз массой (5000±100) г; 5 — груз массой (3200±64) г; 6 — груз массой (1800±36) г
Рисунок 1 — Устройство для определения полного влагопоглощения
7.4.2 Приготовление 0,9%-ного раствора хлористого натрия — по 7.1.1.2.
7.4.3 Подготовка образцов для испытания
Из пробы, отобранной по 6.4 случайным образом, отбирают пять прокладок. Отделяют антиадгезионный слой и каждую прокладку взвешивают с точностью до 0,01 г.
После взвешивания антиадгезионный слой возвращают на прокладку. Для определения удельного влагопоглощения прокладки из каждой прокладки в зависимости от ее размера из центральной части вырезают по одному образцу для испытаний размером 50х50, 40х40 или 30х30 мм. Предельное отклонение по размерам — не более ±2 мм. При наличии прокладок с крылышками образцы вырезают относительно середины крылышек. Предварительно отделив антиадгезионный слой, каждый образец взвешивают с точностью до 0,01 г (масса образца в сухом состоянии
).
Перед испытаниями на образец возвращают антиадгезионный слой.
Из медицинской марли вырезают квадраты размером не менее 110х110 мм.
Раму опускают в сосуд, в него наливают раствор, температура которого должна быть (23±2) °С, до появления на сетчатом дне рамы зеркала раствора.
Затем раму вынимают из сосуда и сетчатое дно рамы выстилают марлей таким образом, чтобы концы марли заходили на ее стенки. На марлю помещают образец прокладки так, чтобы антиадгезионный слой прокладки оказался сверху.
7.4.4 Проведение испытания
Раму с образцом прокладки погружают в сосуд с раствором и выдерживают в течение (180±2) с.
Далее раму с образцом вынимают из сосуда с раствором, на образец со стороны антиадгезионного слоя кладут плиту из органического стекла и к образцу прикладывают груз. При размере образца 50х50 мм прикладывают груз массой (5000±100) г, 40х40 мм — (3200+64) г, 30х30 мм — (1800±36) г. Образец выдерживают под грузом в течение (60±1) с, груз снимают, образец прокладки пинцетом отделяют от марли и антиадгезионного слоя и взвешивают с точностью до 0,01 г (масса образца во влажном состоянии
).
7.4.5 Обработка результатов
Полное влагопоглощение единичной прокладки
, г, вычисляют по формуле
где
— удельное влагопоглощение прокладки;
— масса прокладки без антиадгезионного слоя, г.
Удельное влагопоглощение
вычисляют по формуле
где
— масса образца во влажном состоянии без антиадгезионного слоя, г;
— масса образца в сухом состоянии без антиадгезионного слоя, г.
За результат испытания принимают среднеарифметическое значение пяти полученных определений.
Результат округляют до первого десятичного знака. Относительная погрешность определения полного влагопоглощения не превышает ±10% при доверительной вероятности 0,95.
7.5 Метод определения времени впитывания
Метод основан на определении времени, в течение которого прокладка полностью впитает определенное количество 0,9%-ного раствора хлористого натрия, нанесенное на ее поверхность со стороны верхнего покровного слоя.
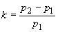
7.5.1 Применяемая аппаратура, посуда и материалы:
— устройство для определения времени впитывания (рисунок 2), состоящее из:
рамы по 7.4.1;
пресс-плиты из металла с ручками. Металл с нижней стороны покрыт органическим стеклом толщиной (1,0±0,5) мм. Размер пресс-плиты должен соответствовать размеру сетчатого дна рамы. В центре пресс-плиты в ее металлической части должно быть расположено отверстие диаметром (20± 3) мм, в покрытии из органического стекла в зоне отверстия металлической части должны быть расположены отверстия диаметром (1,8±0,2) мм, количество отверстий — (31±1). Масса пресс-плиты — (500±25) г;
— вода дистиллированная по ГОСТ 6709;
— термометр по ГОСТ 28498 с ценой деления 1 °С;
— дозатор, обеспечивающий подачу раствора необходимого объема;
— секундомер;
— линейка измерительная по ГОСТ 427 с ценой деления 1 мм;
— ножницы;
— натрий хлористый по ГОСТ 4233;
— колба по ГОСТ 1770 исполнения 1, вместимостью 1000 см
.
Рисунок 2 — Устройство для определения времени впитывания
1 — металлическая рама с сетчатым дном на ножках; 2 — пресс-плита из металла с ручками
Рисунок 2 — Устройство для определения времени впитывания
7.5.2 Приготовление раствора — по 7.1.1.2.
7.5.3 Подготовка образцов для испытания
Из пробы, отобранной по 6.4 случайным образом, отбирают пять прокладок. В зависимости от размеров прокладки из центральной части каждой прокладки вырезают по одному образцу размером 50х50, 40х40 или 30х30 мм с отклонением по размерам не более ±5 мм. При наличии прокладок с крылышками образцы вырезают относительно середины крылышек. Образец кладут на сетчатое дно рамы таким образом, чтобы антиадгезионный слой изделия оказался снизу (на сетчатом дне рамы).
7.5.4 Проведение испытаний
На образец кладут пресс-плиту. В зависимости от размера образца дозатор заполняют определенным количеством раствора, указанным в таблице 2.
Температура раствора должна быть (23±2) °С.
Через отверстие в пресс-плите на поверхность образца дозатором подают раствор и включают секундомер. Этот момент принимают за начало испытания.
Фиксируют момент полного исчезновения зеркала раствора, видимого в отверстии пресс-плиты.
7.5.5 Обработка результатов
За результат испытаний принимают среднеарифметическое значение пяти полученных определений.
Результат округляют до первого десятичного знака. Относительная погрешность определения не превышает ±10% при доверительной вероятности 0,95.
7.6 Метод определения промокаемости верхнего покровного слоя прокладок
Метод основан на определении количества капель 0,9%-ного раствора хлористого натрия, которое удерживает верхний покровный слой прокладки.
7.6.1 Применяемая аппаратура и посуда:
— устройство для определения промокаемости верхнего покровного слоя (рисунок 3), состоящее из:
штатива лабораторного со стойкой для укрепления бюретки;
держателя для образца, состоящего из двух рамок квадратной формы размером (100±1)х(100±1) мм с отверстием в центре рамок диаметром (20±2) мм. Держатель изготовлен из картона или другого материала толщиной не менее 2,0 мм;
бюретки по ГОСТ 29251, тип 1, исполнение 2, 2-го класса точности, вместимостью 50 см
с ценой деления 0,1 см
;
стакана по ГОСТ 25336 вместимостью 250 см
, диаметром 60 мм;
— термометр по ГОСТ 28498 с ценой деления 1 °С;
— секундомер;
— фильтры обеззоленные с красной полосой;
— вода дистиллированная по ГОСТ 6709;
— ножницы;
— натрий хлористый по ГОСТ 4233;
— колба по ГОСТ 1770 исполнения 1, вместимостью 1000 см
;
— линейка измерительная по ГОСТ 427 с ценой деления 1 мм.
Рисунок 3 — Устройство для определения промокаемости верхнего покровного слоя

1 — лабораторный штатив со стойкой для укрепления бюретки; 2 — держатель для образца; 3 — бюретка;
4 — стакан; 5 — образец
Рисунок 3 — Устройство для определения промокаемости верхнего покровного слоя
7.6.2 Приготовление 0,9%-ного раствора хлористого натрия — по 7.1.1.2.
7.6.3 Подготовка образцов для испытания
Из пробы, отобранной по 6.4 случайным образом, отбирают пять прокладок и из каждой прокладки отделяют верхний покровный слой. Из верхнего покровного слоя вырезают образец размером не менее 30х30 мм.
7.6.4 Проведение испытания
Каждый из образцов покровного слоя кладут на обеззоленный фильтр (далее — фильтр), размер которого должен соответствовать размеру образца. Образец покровного слоя вместе с фильтром помещают между рамками держателя. Держатель с образцом помещают на стакан таким образом, чтобы образец находился в горизонтальном положении. Над центром образца закрепляют в лабораторном штативе бюретку, заполненную раствором до отметки (25±1) см
. Температура раствора должна быть (23±2) °С. Расстояние от носика бюретки до поверхности образца должно быть (20±5) мм.
Раствор по каплям (со скоростью примерно одна капля в секунду) наносят на поверхность образца до тех пор, пока не появится влажное пятно на фильтре. Определяют количество капель раствора, необходимое для появления первого влажного пятна на поверхности фильтра.
7.6.5 Обработка результатов
За результат испытаний принимают среднеарифметическое значение пяти полученных определений,
Результат испытания округляют до целого числа. Относительная погрешность определения не превышает ±10 % при доверительной вероятности 0,95.
7.7 Значение рН водной вытяжки определяют по ГОСТ 12523 способом холодного экстрагирования со следующими дополнениями:
— навеску для испытания вырезают из прокладок, отобранных по 6.4;
— для проведения испытаний должна применяться колба с пришлифованной пробкой вместимостью 500 см
;
— пробу заливают (300±10) см
прокипяченной в течение (5,0±0,2) мин и охлажденной до (20±5) °С дистиллированной водой, имеющей рН в диапазоне от 5,9 до 7,2.
7.8 Проверку маркировки и упаковки прокладок осуществляют визуально путем сравнения ее с требованиями настоящего стандарта.
7.9 Проверку герметичности индивидуальной упаковки стерильных прокладок осуществляют после погружения прокладки в индивидуальной упаковке в воду. Легким сдавливанием упаковки ладонями рук проверяют наличие пузырьков воздуха, выделяющихся из упаковки. Упаковку считают герметичной, если визуально не обнаружено наличие пузырьков воздуха.
При обнаружении наличия пузырьков воздуха в воде при испытании хотя бы одной прокладки всю партию бракуют.
7.10 Интенсивность постороннего запаха, выделяющегося из прокладок, проверяют методом в соответствии с инструкцией [3]; количество мигрирующих вредных веществ из прокладки в дистиллированную воду определяют методами, приведенными в гигиенических нормативах [4]; индекс токсичности определяют в соответствии с методическими указаниями [5]; кожно-раздражающее и сенсибилизирующее действие прокладок определяют в соответствии с санитарными правилами и нормами [6] (кожно-раздражающее действие — приложение 1, позиция 4; сенсибилизирующее действие — приложение 3, таблица 1, позиция 7.1). Общую оценку биологического действия прокладок, предназначенных для использования в медицинской практике, на организм женщин проводят в соответствии с требованиями ГОСТ Р ИСО 10993-1.
8 Транспортирование и хранение
8.1 Транспортирование — по ГОСТ 6658 (раздел 3) любым видом крытого транспорта в соответствии с правилами перевозки грузов, действующими на данном виде транспорта. Условия перевозки — по группе 5 ГОСТ 15150.
8.2 Условия хранения прокладок в транспортной таре на складах потребителя и изготовителя — по группе 5 ГОСТ 15150.
9 Гарантии изготовителя
Гарантийный срок годности продукции устанавливает изготовитель в зависимости от применяемого сырья и материалов для изготовления конкретной прокладки (группы прокладок).
Приложение А (рекомендуемое). Графические символы для изображения впитывающей способности женских гигиенических прокладок (пакетов)
Таблица А.1
